Amorphous FeSiB ribbons with nominal composition of Fe
78Si
9B
13are prepared by single roll rapid quenching technique. In order to enhance the giant magneto-impedance (GMI) effect of FeSiB ribbons, interlaminar gluing method is used to produce FeSiB/Cu/FeSiB sandwiched structure in which the FeSiB ribbons act as external soft magnetic layers and the Cu foil acts as internal conductive layer. The variation characteristics of GMI with angle
$\beta$
between the external magnetic field and the ribbon axis for the single layer FeSiB ribbon and the sandwiched ribbon are studied by a rotating device placed in magnetic field which can drive the sample to rotate, to obtain a variable angle
$\beta$
from 0° to 90° with 15° degree angle interval. Magnetic domain structure detection shows that the amorphous FeSiB ribbons have near-axial magnetic anisotropy, and the angle between easy axis and ribbon axis is about 15°. In this work, in the case without considering the effects of shape anisotropy, the functional relationship among magnetic field at anisotropic peak of permeability, transverse permeability ratio and angle
$\beta$
is obtained according to the expression of the transverse permeability of ribbon derived from a domain rotation model. The results display that anisotropic peak appears in the transverse permeability for each of all testing values of angle
$\beta$
. Moreover, the transverse permeability ratio increases with
$\beta$
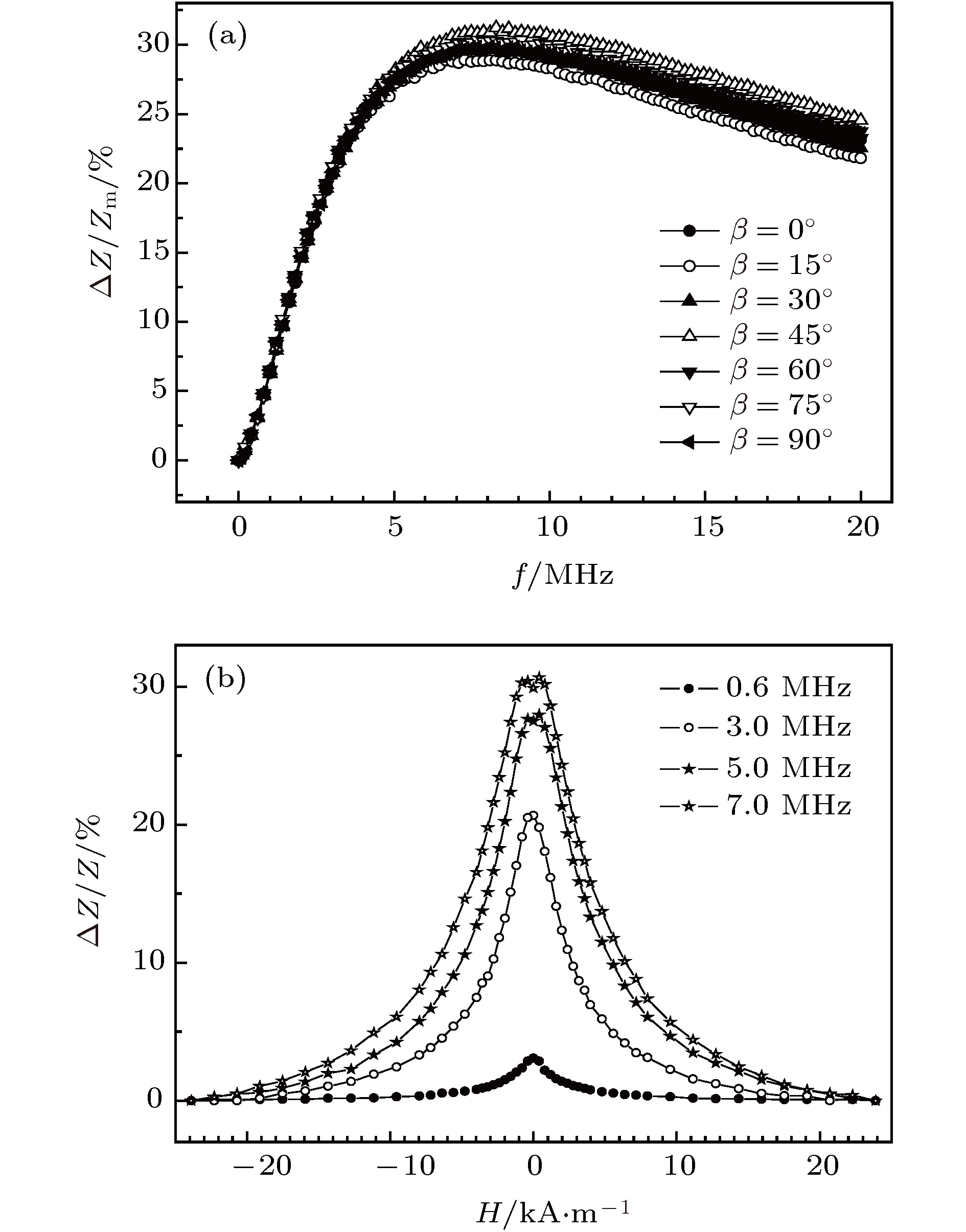
increasing. The magneto-impedance testing results indicate that the maximum GMI ratio of single layer ribbon is only about 30% at an optimum response frequency of 7.0 MHz, and angle
$\beta$
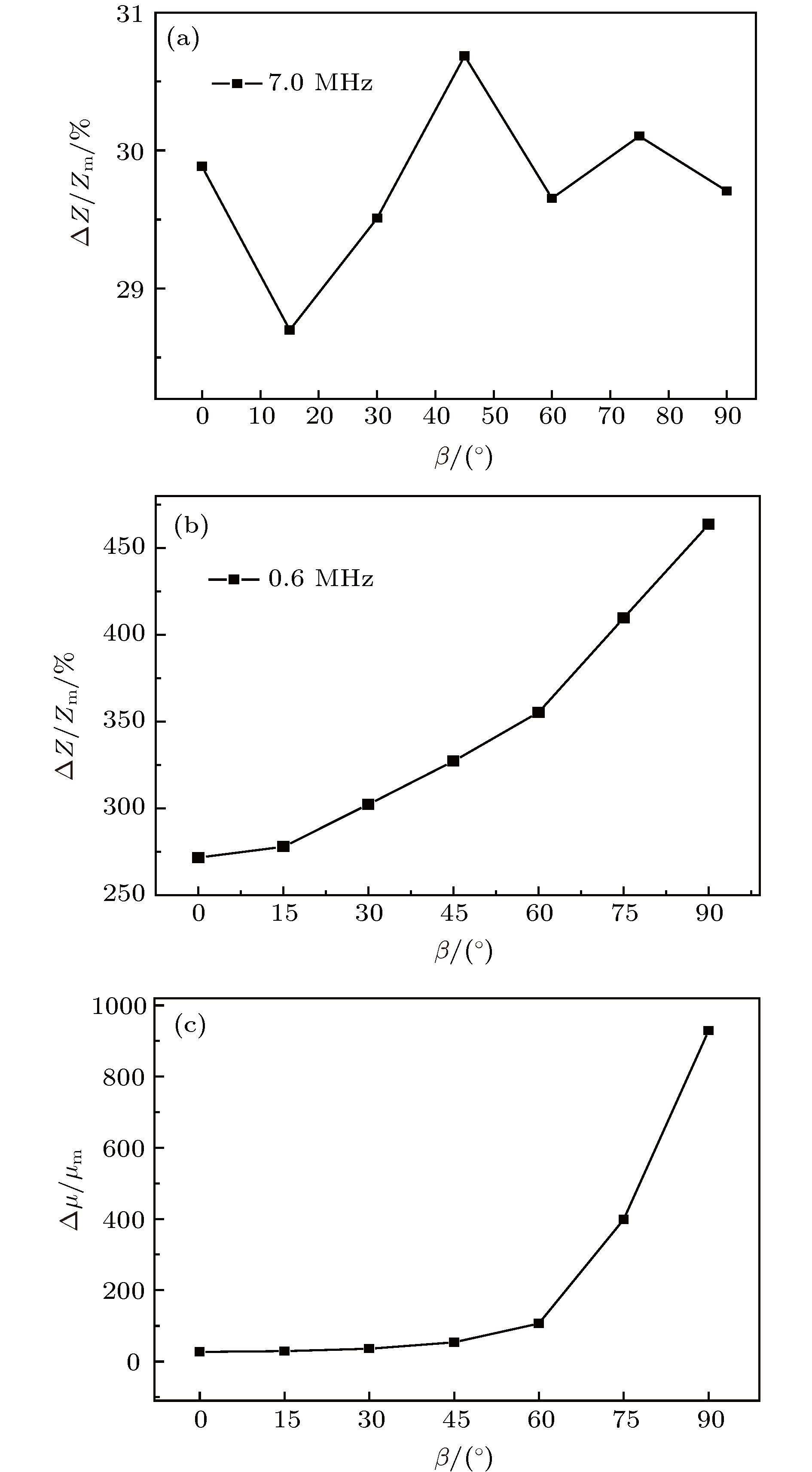
has almost no influence on the GMI. In contrast, the GMI of sandwiched ribbon presents a significant enhancement, the maximum value of the longitudinal GMI ratio and that of transverse GMI ratio reach 272% and 464%, respectively at an optimum response frequency of 0.6 MHz, the GMI of sandwiched ribbon is sensitive to the variation of angle
$\beta$
, and with increase of
$\beta$
the GMI increases accordingly. In addition, for all testing values of angle
$\beta$
, the GMI profiles of sandwiched ribbon show anisotropic peaks, due to the influence of transverse demagnetization field, and the anisotropic peak broadens with the increase of angle
$\beta$
. By comparing the theoretical and experimental results, it can be concluded that for the sandwiched ribbon, the characteristics of GMI changing with angle
$\beta$
agree better with the theoretical transverse permeability, which but is not for single layer ribbon. Besides, whether the anisotropic peak of GMI appears is independent of the orientation of the external magnetic field. As the transverse permeability ratio increases with the increase of angle
$\beta$
, the GMI effect of sandwiched ribbon is enhanced accordingly. The study results also demonstrate that the domain rotation model can be used to explicate the variation of GMI properties of sandwiched ribbon with the angle between magnetic field and ribbon axis qualitatively when the domain rotation magnetization is dominant.