-
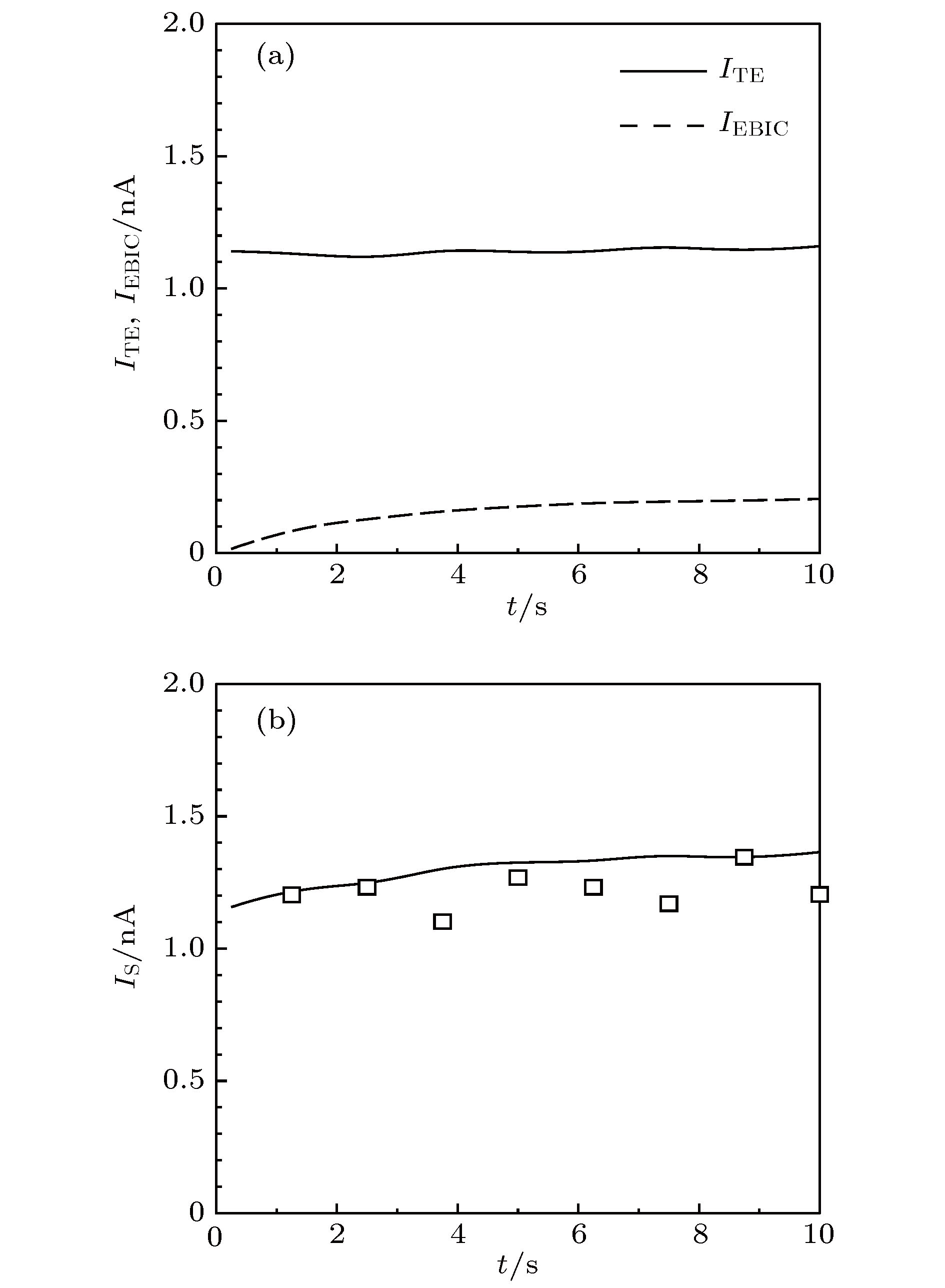
电子束照射下电介质/半导体样品的电子束感生电流(electron beam induced current, EBIC)是其电子显微检测的重要手段. 结合数值模拟和实验测量, 研究了高能电子束辐照下SiO 2/Si薄膜的瞬态EBIC特性. 基于Rutherford模型和快二次电子模型研究电子的散射过程, 基于电流连续性方程计算电荷的输运、俘获和复合过程, 获得了电荷分布、EBIC和透射电流瞬态特性以及束能和束流对它们的影响. 结果表明, 由于电子散射效应, 自由电子密度沿入射方向逐渐减小. 由于二次电子出射, 净电荷密度呈现近表面为正、内部为负的特性, 空间电场在表面附近为正而在样品内部为负, 导致一些电子输运到基底以及一些出射二次电子返回表面. SiO 2与Si界面处俘获电子导致界面附近负电荷密度高于周围区域. 随电子束照射样品内部净电荷密度逐渐降低, 带电强度减弱. 同时, 负电荷逐渐向基底输运, EBIC和样品电流逐渐增大, 电场强度逐渐减小. 由于样品带电强度较弱, 表面出射电流和透射电流随照射基本保持恒定. EBIC、透射电流及表面出射电流均随束流呈现近似正比例关系. 对于本文SiO 2/Si薄膜, 透射电流随束能的升高逐渐增大并接近于束流值, EBIC在束能约15 keV时呈现极大值.The electron beam induced current (EBIC) characteristics of dielectric/semiconductor thin films under the electron beam (e-beam) irradiation is the important means of implementing the electron microscopic detection. The transient EBIC characteristics of the SiO 2/Si thin film irradiated by a high-energy e-beam are investigated by combining the numerical simulation and the experimental measurement. The scattering process of electrons is simulated by the Rutherford scattering model and the fast secondary electron model, and the charge transport, trapping and the recombination process are calculated by the current continuity equation and the Poisson equation. The transient charge distribution, EBIC and the transmission current are obtained, and influence of the beam current and the beam energy on them are analyzed. The results show that due to the electron scattering effect, the free electron density decreases gradually along the incident direction. The net charge density near the surface is positive and negative along the incident direction because of secondary electrons (SEs) emitted from the surface, and therefore the electric field intensity is positive near the surface and negative inside sample, which causes some electrons to be transported to the substrate and some SEs return to the surface. The negative charge density at the SiO 2/Si interface is higher than that in the nearby region because some electrons are trapped by the interface trap. With the decrease of the net charge density with e-beam irradiation, the charging intensity decreases gradually. Meanwhile, electrons are gradually transported to the substrate, and consequently EBIC and the sample current increase and the electric field intensity decreases with e-beam irradiation. However, due to the weak charging intensity, the surface emission current and the transmission current remain almost invariant with e-beam irradiation. The EBIC, the transmission current and the surface emission current are approximately proportional to the beam current. For the SiO 2/Si thin film in this work, the transmission current increases gradually to the beam current value with the increase of the beam energy, and the EBIC presents a maximum value at the beam energy of about 15 keV.
[1] [2] [3] [4] [5] [6] [7] [8] [9] [10] [11] [12] [13] [14] [15] [16] [17] [18] [19] [20] [21] [22] [23] [24] [25] [26] -
参数 SiO2 Si ρ/g·cm–3 2.26 2.32 $\bar A $/g·mole–1 20 28.1 $\bar J $/keV 0.139 0.173 $\bar Z $ 10 14 束能EB/keV 束流IB/nA 扫描区域/mm2 扫描周期/s 10, 15, 20, 30 1.6 1 × 1 1.2 参数 取值 束能EB/keV 10 束流IB/nA 1.6 体缺陷密度/cm–3 1017 界面俘获密度/cm–2 1014 -
[1] [2] [3] [4] [5] [6] [7] [8] [9] [10] [11] [12] [13] [14] [15] [16] [17] [18] [19] [20] [21] [22] [23] [24] [25] [26]
计量
- 文章访问数:8204
- PDF下载量:114
- 被引次数:0












下载:









