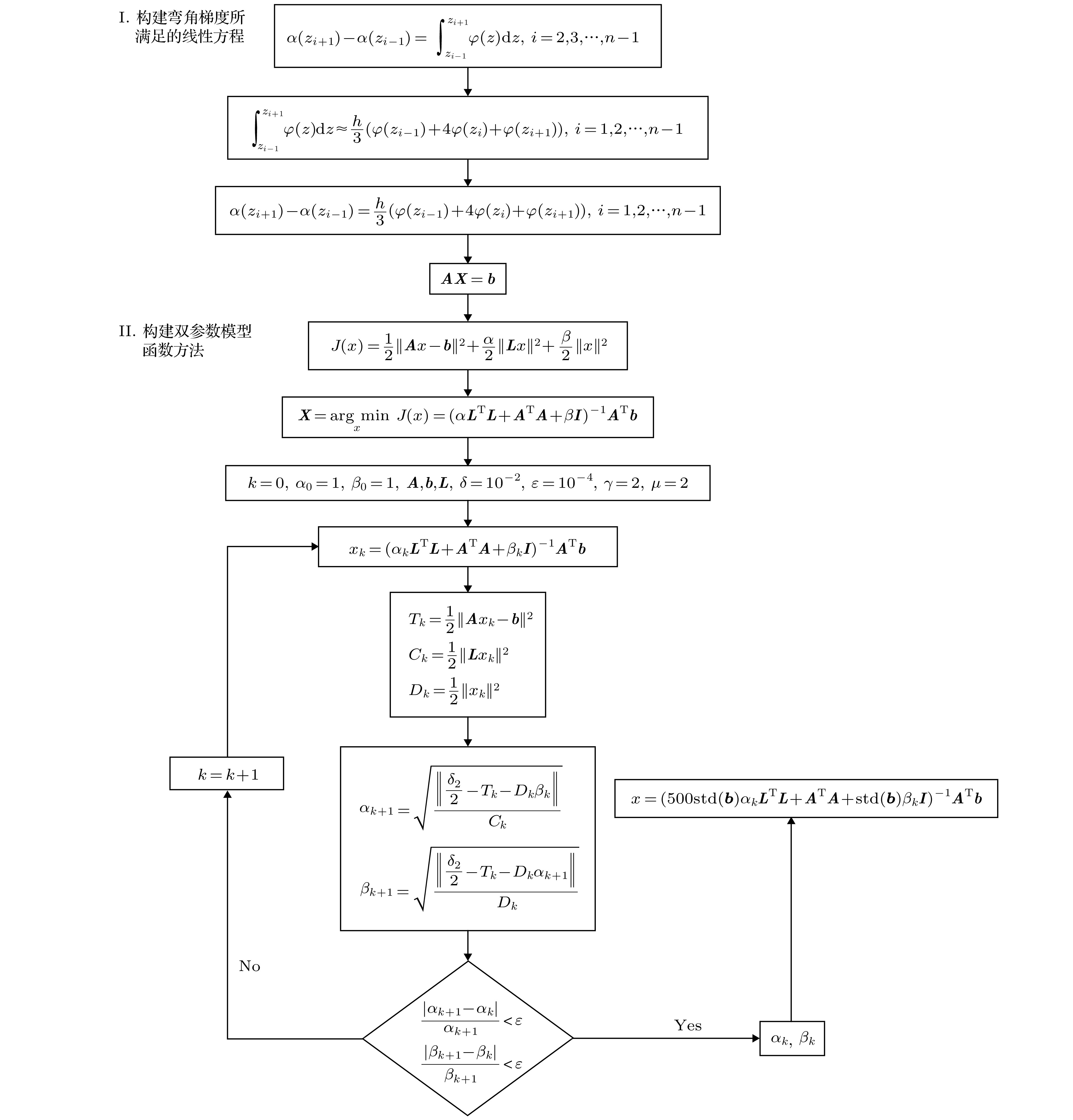
In this paper, we propose a new method of numerical differentiation to determine the height of the top layer of the atmospheric boundary layer. In this method, a regularization technique is used to convert the problem of calculating the differential of the curve of the corners into the problem of finding the minimum value of the objective function. The two-parameter model function method is used to select the regularization parameters. Finally, the maximum gradient method is used to determine the top height of the boundary layer. Firstly, the effectiveness of the new method is validated through two numerical experiments. The experimental results show that as the noise of the occultation data increases, the fluctuation of the height of the boundary layer top obtained by the difference method and the numerical differentiation method combined with the L curve scheme increases. And the height obtained by the two-parameter model function method is very stable, which shows that the new method can filter the noise well, thereby retaining the main information about the profile. Then, based on the COSMIC angle data in January, April, July and October 2007-2011, the new method is used to analyze the seasonal characteristics of the height of the global oceanic and atmospheric boundary layer, compared with the seasonal distribution obtained by “zbalmax” with the occultation data. The results show that the seasonal distribution characteristics of the two data are very consistent: the height of the boundary layer is higher in the area where the sea surface temperature is higher than that in the surrounding sea area; on the contrary, the height of the boundary layer top is lower. In the sea area where the warm current passes, the height of the boundary layer is higher; in the sea area where the cold current passes, the height of the boundary layer is lower.