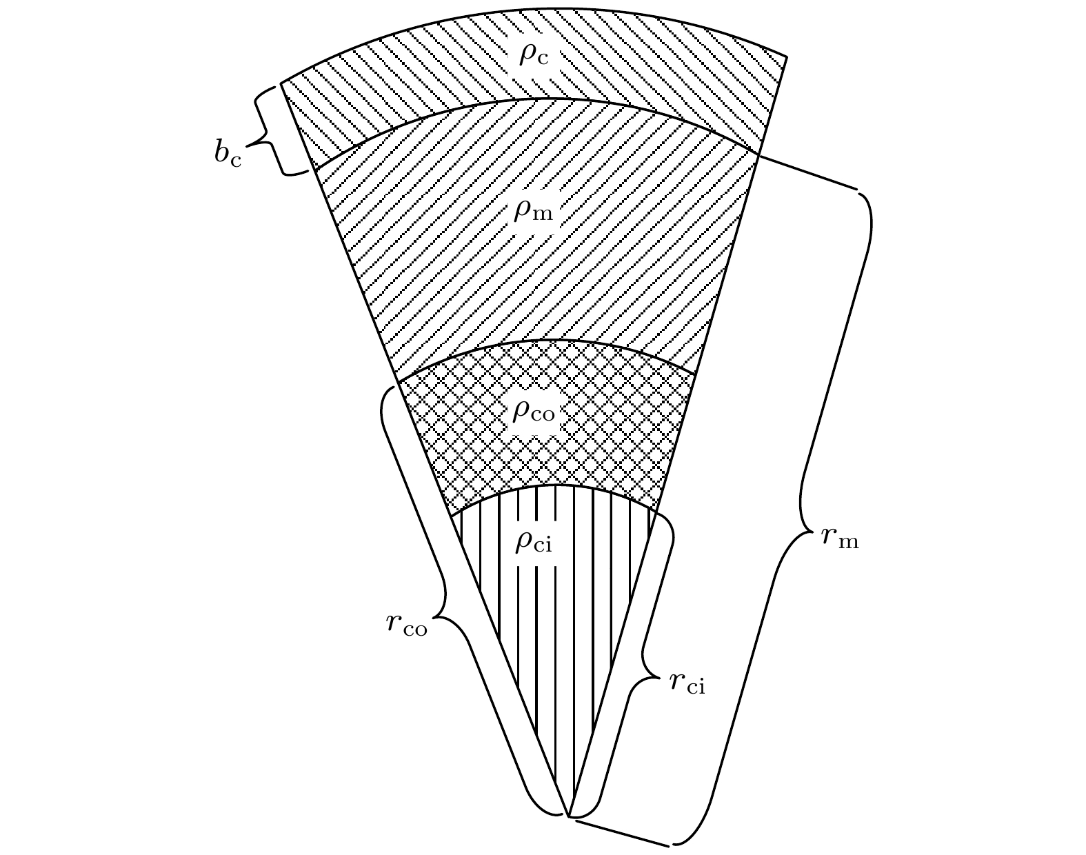
This study focuses on the size of composition of lunar core. In this study, we consider the lunar mean density and mean moment of inertia factor in our inversion. We use the degree-2 coefficients of lunar gravity field model GL990D and the lunar physical liberation parameters to compute mean moment of inertia factor, which is treated as an observed value. We also compute the observed value of the mean density according to the total mass of the Moon. Based on the interior structure with various layers, we deduce the modeled expressions for the lunar mean density and mean moment of inertia factor. Summing the squares of the difference between the observed value and modeled value as an inversion criterion, we estimate the multi-parameters based on the simulated annealing algorithm. By considering the lunar interior structure with three layers, the estimated size of the lunar core is around 470 km, and the density of the core is close to 5486 kg·m
–3. The computed size and density of the lunar core are close to other reported values, thereby validating our algorithm. We then consider the scenarios that the lunar core differentiates between a solid inner core and a liquid outer core. The good-inversed outer core is close to 385 km, while the inner core approaches to 350 km. By using the good-inversed sizes as fixed parameters, it is found that the inner core reaches 7879 kg⋅m
–³, quite denser than the outer core, which is estimated at 4618 kg⋅m
–³. Our result indicates that the outer core is composed of ferrous sulfide (FeS), while the inner core is comprised of ferrous or ferro-nickel, formed 3.56 billion years ago when the lunar core dynamo ended.